1. Prepare the test plate according to the standard requirements and place it for 24 hours under the conditions of (23±2)℃ and relative humidity (50±5)%.
2. Calibrate the instrument:
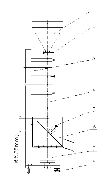
(1). Pour a certain amount of sand into the funnel (1), check the sand flow falling from the lower end of the conduit (4), and calibrate the device with the bottom adjustment screw (8) until it is observed from two positions 90° from each other. , the inner core of the sand bundle just falls on the center of the sand flow. Use the height adjustment nut (7) to adjust the distance from the pipe to the painted surface. According to ASTM standards, when measured in the vertical direction, the closest point is 1 inch (25mm). The user needs to adjust according to the thickness of his own sample. The machine is shipped from the factory 25mm pre-adjusted. Pour a certain volume of sand (2000±10ml is suitable), and measure the outflow time. The outflow speed should be 2L within 21S~23.5S.
(2). Fix the test plate with the test plate fixture (5), and gradually increase the amount of sand put in until the substrate with a diameter of 5/32 inch (4mm) dots is gradually worn away. The entire wear area is an oval approximately 1 inch (25 mm) wide and 1.25 inches (30 mm) long. The center of the area of greatest wear shall be on the centerline of the major axis of the wear pattern and within 9/16 to 11/16 inches (14 to 17 mm) of the upper end. The instrument is allowed to make fine adjustments in order to correct the wear dot at the center of the wear pattern.
(3). Fix a metal test plate with the test plate fixture (5), and there is a 5/32 inch (4mm) small hole on it. The center of the hole must be aligned with the center of the conduit, and the weight falls into the container through the test plate hole. If the amount of sand passing through the hole is 90% to 93% of the total amount of sand falling on the test plate, the instrument is considered to be standard.

1. Mark three circular areas on each test plate, each circular area is about 1 inch (25mm) in diameter, and make the test plate fit properly on the test plate holder of the instrument. Test the coating thickness according to the standard, each area has at least three test points, and record the average value of the coating thickness on each area.
2. Fix the painted test plate on the test plate support with the test plate fixture (5), adjust the test plate so that the marked area is just below the center of the conduit, and pour a certain volume of standard sand into the funnel (1 ), turn on the shakeout switch (2), let the sand pass through the conduit, hit the test plate, and collect the falling sand with a container at the bottom of the instrument. Repeat the above operation until the coating has a 5/32 inch (4mm) diameter area exposed to the substrate. During the test, the suitable incremental amount of sand is 2000±10ml, and when the end point is approaching, 200±2ml of sand can be added to the funnel (1).
3. Calculate the wear resistance value of each test area of the painted test panel according to the following formula
A=V/T
In the formula:
A——wear resistance value, in liters per micron
V——abrasive consumption, liter (reserve one decimal place)
T——coating thickness, micron (reserve one decimal place)
It is necessary to calculate the average value of the wear resistance of different areas of the same test plate and the average value of the wear resistance of different test plates
1. In order to ensure that the inner core of the sand beam is exactly the center of the falling sand flow, the alignment of the conduit should be checked at regular intervals.
2. After the sand passes through the instrument for 25 times, use a No.30 sieve to remove the finer sand, and replace the sand after 50 times of use.
3. In order to obtain the highest precision test results, both the buyer and the seller should use sand from the same source.
Air - 《南北潮》