JingKeLian QSM-II Laboratory sand mill Manual,OI
Related products
-
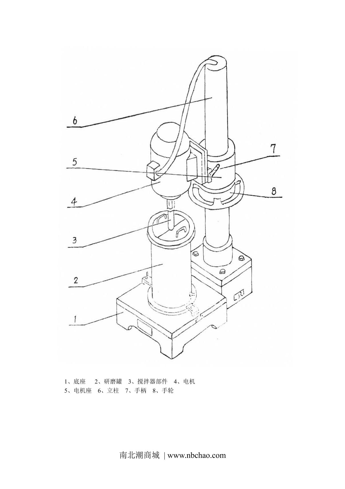
YONGLIDA QSM-II Experimental Sand Mill Stir Speed 1400 rpm1400rpmAbout 1.5 litersVoltage 380V Frequency 50Hz¥3100.0SE
Recommended for more manual
- 1Moderner LSM-370 Basket sand mill Manual
- 2Moderner SFJ-500 Multifunctional mixing and grinding machine Manual
- 3Moderner LSM-2.2 Basket sand mill Manual
- 4MuXuan WS-5 Disc sand mill Manual
- 5Moderner SFJ-400 Sanding, Dispersion, Stirring Multipurpose Machine Manual
- 6MuXuan WS-20 Disc sand mill Manual
- 7MuXuan WS-60 Disc sand mill Manual
- 8Moderner QSFJ-0.7 Pneumatic single-axis multi-purpose machine Manual
- 9MuXuan WS-10 Disc sand mill Manual
- 10Moderner SFJ-400A Multifunctional Stirring and Grinding Machine Manual
