TQC sheen DV1305 Viscometer Manual,OI
Related products
-
NIRUN DRV-1T dilute Rotational Viscometer anti-static shell 5 inch touch screenD1 Rotor: Provides 200S-1 shear rate for measurement of viscosity value 0-2200mPa.s Fluid D2 Rotor: Provides 44S-1 shear rate for measurement of viscosity value 10-10000mPa.s Fluid D3 Rotor: Provides 20S-1 shear rate for measurement of viscosity value 100-55000mPa.s Fluid562 RPM ±0.1Meet the requirements 250ml measurement tank (inner diameter 74mm, height 74mm)¥11000.0SE -
MODERNER NDJ-8S Digital Rotational Viscometer viscosity range is 1-2000000cpdigital display1~2000000mPa·s1#、2#、3#、4#SE -
Shangtian Jingyi RVT T Series Color Screen Viscometer Laboratory Viscosimeter 4 × 10 ^ 7 mPa.s40~4×10^7 mPa.s (mPa·s)0.1-200 (r/min) CVTR2 -R7¥14880.0SE -
FANGRUI NDJ-9S Digital Viscometer + Thermal Printer PackageBacklit LCD1~100000mPa·s1#、2#、3#、4#¥3030.0SE -
FANGRUI instrument DVT software DVT Rotational Viscometer supporting useFangrui brand DVT¥800.0SE -
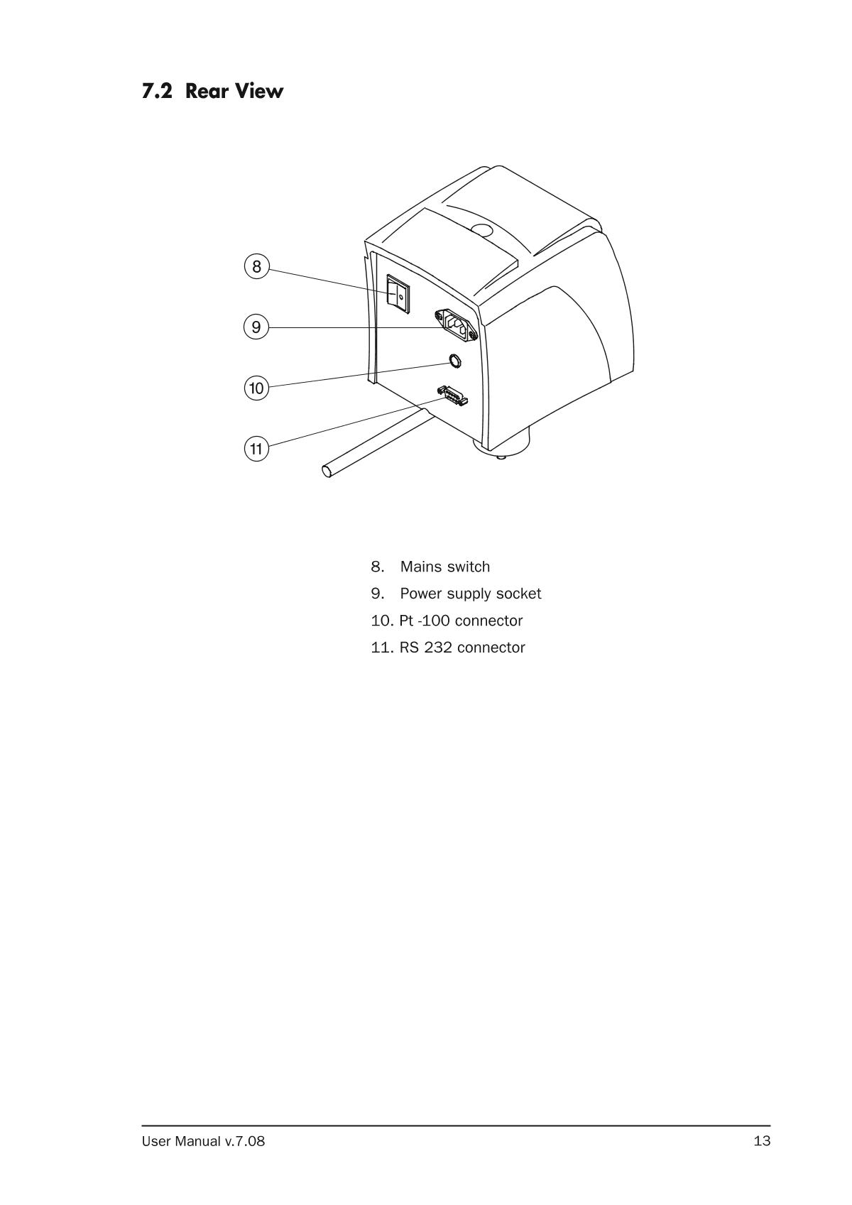
YUEPING DV-1 Digital Rotational Viscometer used in grease, paints, plastics, Coatings, detergents, etcdigital explicit1~2000000mpa.s1 #, 2 #, 3 #, 4 #(0 #optional)¥4870.0SE -
HUINUO SNB-1 Digital Display Rotational Viscometer Viscosity Testing Instrument with Ultra Low Viscosity Adapter1~600000mPa·sL0#、L1#、L2#、L3#、L4#±0.5%F.S¥5900.0SE -
NIRUN NTV-T1L Viscosity and Temperature Control Integrated Machine 5~ 3300000mPa · stouch type5~3300000mPa·sSC4-21, 27, 28, 29¥30670.0SE -
NIRUN NTV-E1 Intelligent Touch Digital Viscometer Measurement range 1-10 million Pa.stouch type1~100000mPa·s1 #, 2 #, 3 #, 4 #(0 #optional)¥7990.0SE -
Ander DV-79 Digital Viscometer Viscosity Range 1mPa·s~ 1000000mPa·sdigital display1~1000000mPa·s3 kinds of rotors E, F and G (with B-type test container)¥5600.0SE
Recommended for more manual
- 1JINGHAI SNB-2 Rotational Viscometer Manual
- 2Brookfield RVDV-S+ Rotational Viscometer Manual
- 3FangRui RV-SSR Viscometer Manual
- 4NiRun HADV-2+Pro Digital Viscometer Manual
- 5JingTian SNB-3 + LC-1008 Thermostatic bath Digital Rotational Viscometer Manual
- 6JingTian RVDV-2 Digital Rotational Viscometer Manual
- 7JingTian NDJ-8S RTD Digital Rotational Viscometer Manual
- 8FangRui LVDV-1 Viscometer Manual
- 9HuiNuo NDJ-5S + LC-1008 Thermostatic bath Digital Rotational Viscometer Manual
- 10FangRui HBDV-1T Rotational viscometer Manual
