PN-PCTF Cup Stiffness Tester is a paper cup stiffness testing instrument designed and developed in accordance with the national standard GB/T 27590. It is suitable for all types of paper cups covered with paraffin, polyethylene film and other substances on the surface for containing cold and hot beverages and ice cream. It is a physical performance testing instrument for paper cup manufacturers, food companies and quality inspection departments.
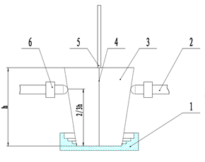
The testing principle of this instrument: Put the pressure rod block (5) into the sample cup (3), and place it together with the sample cup on the movable stand (1) of the cup body stiffness Tester, so that the left measuring head ( 6) and the right measuring head (2) (the right measuring head is connected to the sensor) just touch the side wall of the cup. Adjust the movable stand so that the vertical distance between the measuring head and the bottom of the cup is about two-thirds of the height of the cup, and make it The seam (4) of the paper cup to be tested faces the Tester. Start the instrument and test the stiffness of the cup body.

1. Adopt new module circuit design, with WIFI Internet of Things function. After being connected to the Internet, the test results can be saved to the cloud server, and can be queried and generated through the dedicated QMS quality management system;
2. The experimental process can be operated with one click to avoid human errors;
3. Touch screen display, touch the corresponding position to operate, easy to use;
4. The relative distance between the two measuring heads can be preset on the touch screen to save testing time;
5. Built-in printer to facilitate the output of test data;
6. The movable stand can be raised, lowered and locked, suitable for specimens of different heights;
7. The instrument has an over-range prompt function;
8. It has statistical functions, showing the average value, maximum value, minimum value, standard deviation and coefficient of variation.
GB/T 27590, QB/T 5023