QHD pendulum damping Tester is designed by Jingke according to the standard ISO1522 and ZBN72020-86 for determining the hardness of the paint film of pigment paint, varnish and other related products, and is equipped with two different total mass pendulums of Koenig pendulum and platinum sarz pendulum, which are 200+0.2g and 500+0.1g respectively.The main structure of QHD pendulum damping Tester includes instrument base, pendulum, technical device and instrument cover.
The hardness of the paint film is based on the pendulum rod that touches the surface of the paint film when it swings at a certain periodThe damping time (s representation) of the swing attenuation on the paint film, if the softer the surface, the faster the swing decay, and vice versa. Note that there is no conversion relationship between the results of tests performed with Konig and Persoz pendulums with different structures, masses, dimensions and periods, because the interaction between the pendulum and the coating also depends on the complex elasticity and viscosity of the coating. Therefore, in the product standard, only one kind of pendulum is specified in the determination of the damping time of a certain paint film.

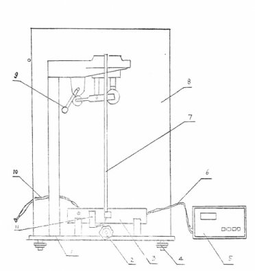
1. Host
2. Starting the handle
3. a ruler
4. Adjust the foot horizontally
5. Timer
6. Photoelectric signal line
7. Pendulum
8. an instrument cover
9. a supporting plate control handle
10. a shutter release line
11. a photocell rack
Installation diagram of the plexiglass cover

1. Upper cover
2. a front plate
3. a rear plate
4. a left panel
5. The upper plate on the right side
6. a lower plate on the right side
7. a side door
8. a back door

