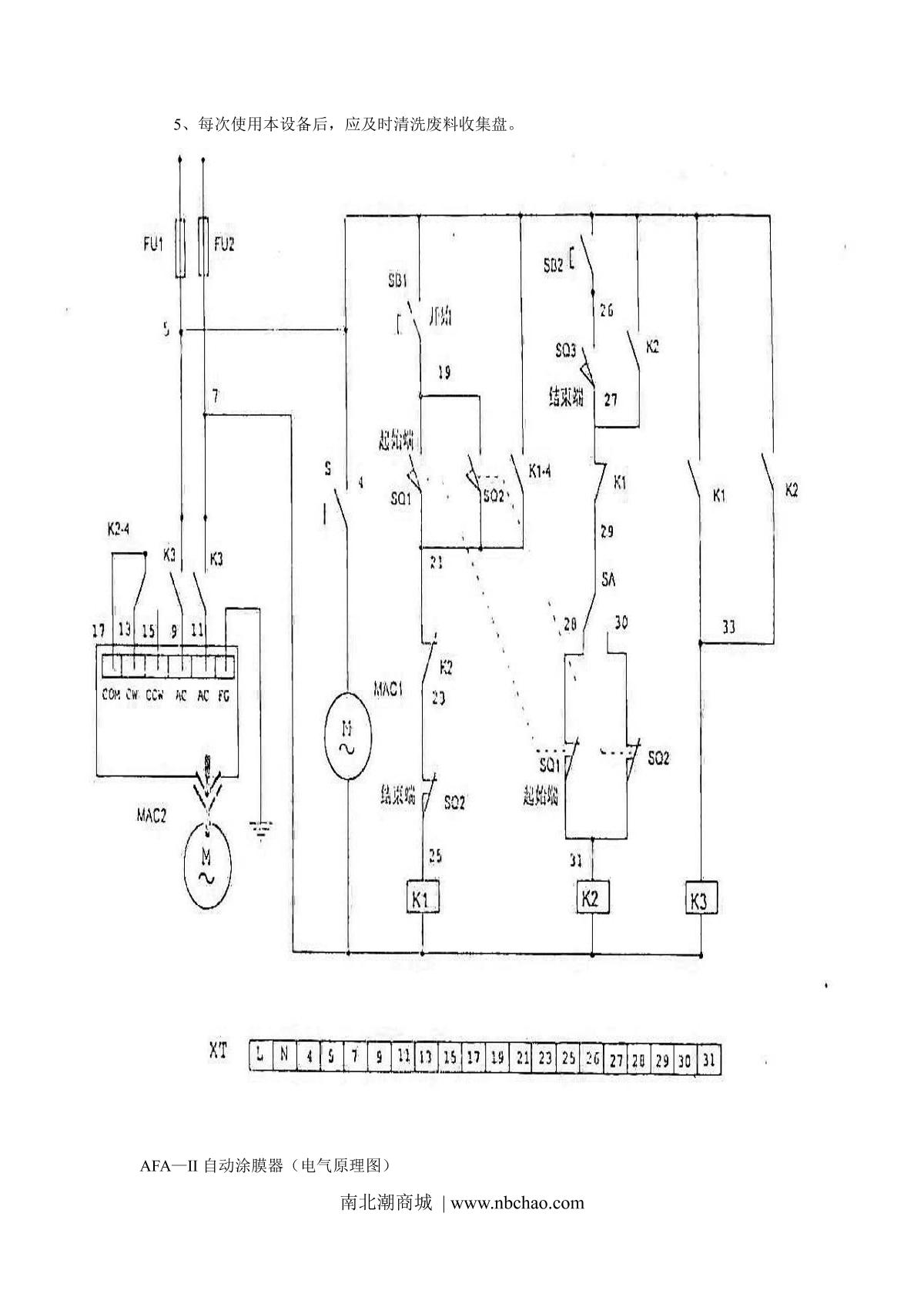
JingKeLian AFA-II Automatic Film Applicator Manual,OI
Related products
-
HuiNuo TM2200Pro/03 drawdown blade vacuum adsorption high-precision coater effective Spreader area 400 * 400mmDrawdown blade1~ 300Mm/s stepless speed regulation (can be customized)Vacuum adsorption + fixture¥34000.0SE -
HuiNuo TM 2200/03 drawdown blade vacuum adsorption small coater effective Spreader area 400 * 400mmDrawdown blade1~ 300Mm/s stepless speed regulation (can be customized)Vacuum adsorption + fixture¥29000.0SE -
CHINA TBJ-X1-DJ8 Detachable drawdown blade Vacuum adsorption Film Applicator Effective area 500 * 600mm±0.003mm0.02-10 MM drawdown blade can be lifted and lowered5~ 200Mm/s (< 5mm/s can be customized)¥40000.0SE -
HUINUO TM2200Pro/02 drawdown blade vacuum adsorption Small Film Applicator Effective area 500 * 600mmDrawdown blade1~ 500Mm/s stepless speed regulation±1%¥38000.0SE -
CHINA TBJ-X1-DJ10 drawdown blade vacuum adsorption Small Film Applicator Effective area 300 * 600mm±0.003mm0.02~ 10Mm drawdown blade can be lifted5~ 180Mm/s (< 5mm/s can be customized)¥32000.0
Recommended for more manual
- 1zy TBJ-X3-DJ3 Automatic Film Applicator Manual
- 2HuiNuo TM3000/30 Automatic Film Applicator Manual
- 3HuiNuo TM3300 Automatic Film Applicator Manual
- 4HuiNuo TM3200/11D Automatic Film Applicator Manual
- 5zy TBJ-A1-DJ3 Automatic Film Applicator Manual
- 6HuiNuo TM3200/05 Automatic Film Applicator Manual
- 7HuiNuo TM2200/03 Automatic Film Applicator Manual
- 8zy TBJ-X3-DJ12 Automatic Film Applicator Manual
- 9HuiNuo TM3300pro/35 Automatic Film Applicator Manual
- 10zy TBJ-X1-DJ3 Automatic Film Applicator Manual
