




The Dutch TQC impact testing machine SP1890 is a direct impact type impact testing machine. It is suitable for testing the impact resistance of paint films in the paint, coating and other industries. The impact of the weight on the paint film will cause the paint film to deform, crack or fail from the test. The impact resistance performance of the paint film coating can be judged based on the conditions such as board peeling.
The SP1890 impact testing machine complies with the international standard ISO 6272-1, and the maximum test plate thickness that can be tested is 125mm.
Comply with ISO 6272-1:2002, JIS K 5600-5-3:1989, EN 13523-5:2001 and other standards.
* The standards that meet the requirements depend on the type of impact testing machine, and other standards can be applied by changing the device combination.
1) Check whether the SP1890 impact testing machine is placed horizontally, whether all components are installed correctly and a punch of appropriate diameter is selected.
2) Use the compression handle on the side to compress the test board.
3) Gently lower the weight onto the punch and adjust the guide tube. The 0 mark on the guide tube should be kept level with the bracket of the drop weight.
4) Make sure that the punch can be raised when the red button is pressed and the drop weight can slide freely on the pipe.
5) Adjust the height limit ring, and adjust the weight to the corresponding scale line in the conduit according to the height required for the test.
6) Raise the drop weight and lock it with the release clamp.
7) Raise the drop weight to the starting position and press the red button to release the test sample.
8) Check the test sample for coating cracking.
9) The test can be repeated according to experimental needs.


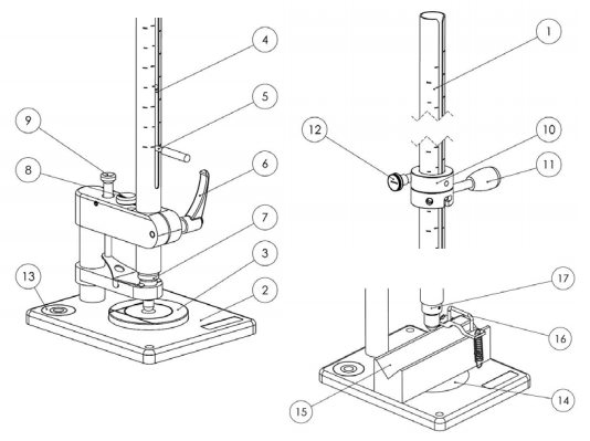
| serial number | Part Name | SP1880 | SP1890 | SP1891 | SP1895 |
| 1 | catheter | â | â | â | â |
| 2, 6, 13 | Base with built-in bubble level | â | â | â | â |
| 3 | 16.3mm die | â | â | ||
| 3 | 27.0mm die | â | â | ||
| 4 | 1kg weight | â | â | ||
| 5 | Heavy hammer | â | â | â | â |
| 7 | 15.9mm diameter punch | â | â | â | |
| 8 | 12.7mm diameter punch | â | |||
| 9 | lift release punch | â | |||
| 10,11,12 | height limit ring | â | â | â | â |
| 14,15,16 | V-notch vise with spring clamp | ||||
| 17 | weight | â | â |

Impact Tester functional structure diagram