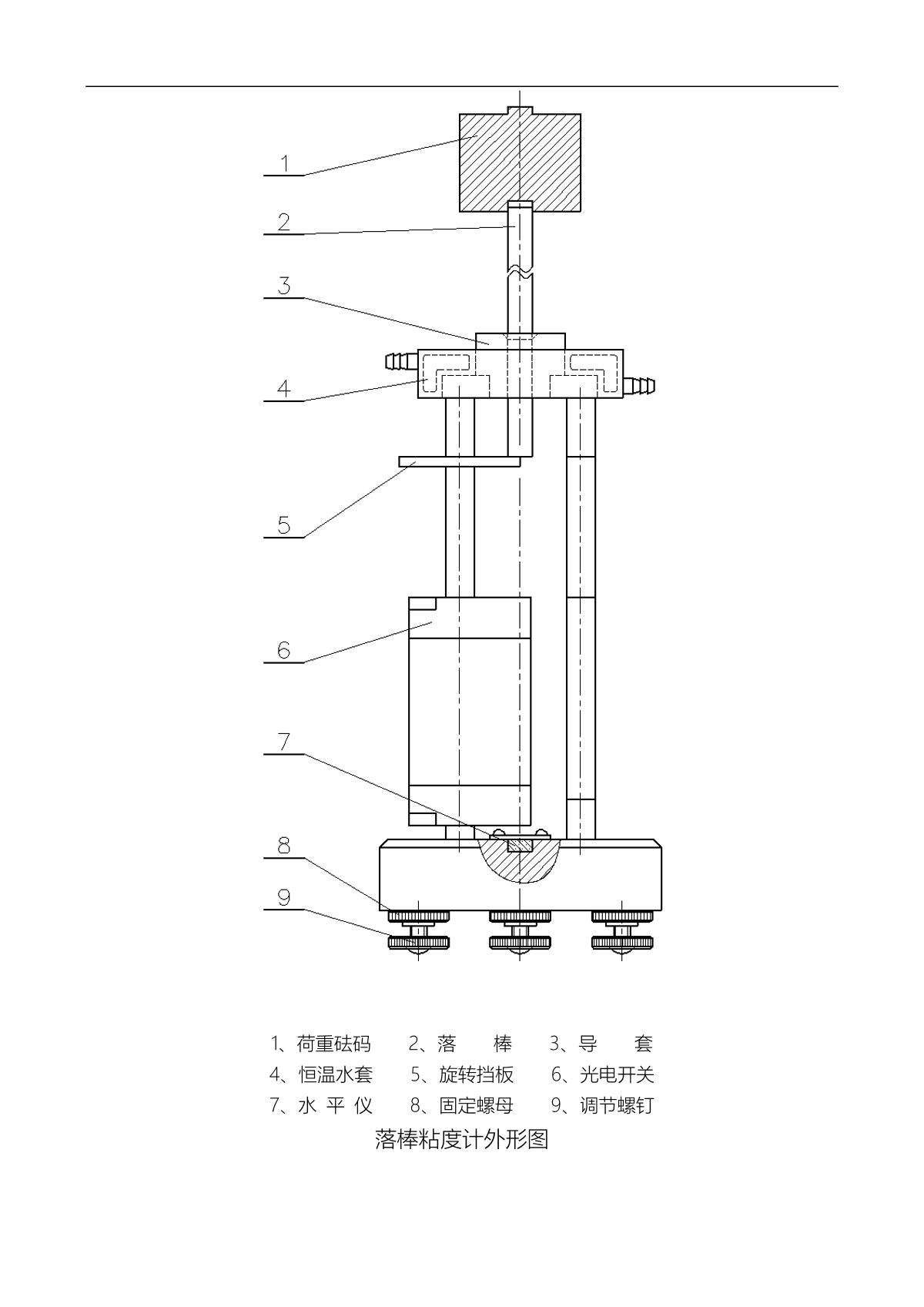
Moderner LBN-II Falling Rod Viscometer Manual,OI
Related products
-
-
-
Fungilab ViscoBall falling ball viscometer Viscosimeter0.5~100,000mPa·s-20 ℃ to 120 ℃Better than 0.5%SE -
NIRUN FDV-T starch Viscosity-Tester starch gelatinization characteristics measurementdigital display50~1000000mPa·s1 F1 rotor¥100670.0SE -
-
-
-
JINGKELIAN QNP Plate Viscometer accurately measures the flow of inks between two parallel platesGB/T14623.3 standard115±0.5g0.5 cubic centimeters +/- 0.003 cubic centimeters¥1280.0SE -
-
Recommended for more manual
